Какой газ тушит огонь
Система газового пожаротушения
В этой статье разберем – что такое газовое пожаротушение. Начинать надо с того, что требования к системам пожаротушения разные. Многое зависит от предназначения помещений или строений, от площади и этажности объектов, от вида технологического оборудования, установленного внутри помещений, от самой пожарной нагрузки. В последнем случае это количество горючих материалов, находящихся на объекте. Здесь не только сырье или готовая продукция, но и отделка поверхностей, имущества и обстановки в целом.
Поэтому для каких-то объектов лучше подходит водяное пожаротушение, в других используют порошковое, а где-то газовое. Последний вид хоть и известен давно, но на практике применяется нечасто. Отношение к нему предвзятое. Во-первых, газовые установки пожаротушения – удовольствие не из дешевых. Во-вторых, защищать ими можно объекты небольших площадей. Поэтому чаще всего автоматическое газовое пожаротушение используют на объектах, в которых присутствие этого типа обоснованно государственными нормами по пожарной безопасности. Или второй вариант – когда другие виды систем пожаротушения неэффективны, необоснованны и нецелесообразны по техническим или экономическим аспектам.
Классификация
Сегодня производители предлагают две разновидности системы:
- Централизованная. В ее состав входят емкости, наполненные огнетушащим газом. Они располагаются в отдельном здании, которые называют станциями пожаротушения. От емкостей по помещениям разводят трубы, которые укомплектовываются специальными насадками. Через последние газ и будет подаваться в помещения при возникновении пожара.
- Модульные. Это небольших размеров установки, в составе которых несколько газовых баллонов, наполненных огнетушащей смесью. Их обычно устанавливают прямо внутри помещения, для которого они и предназначены.
Можно в классификацию добавить раздел по способу пуска огнетушащих установок. Это электрические модели, механические, гидравлические, пневматические или комбинированные.
По способу защиты разделение такое:
- Объемное. Это когда газом заполняется весь пространственный объем объекта. Обычно такие установки используют в музеях, на складах, где хранятся ценности, в производственных помещениях с высокотехнологичной электронной аппаратурой.
- Локальное (автономное). Это когда нет надобности заполнять газом все пространство охраняемого объекта. То есть по чисто техническим или экономическим аспектам это делать нецелесообразно или просто невозможно.
Добавим, что необходимость установки газового типа пожаротушения регламентируется действующими законодательными актами. К примеру, вот что написано в законе №123-ФЗ, а точнее, в статье 112. Автоматическое газопожаротушение должно обеспечить:
- своевременное обнаружение возгорания;
- включаться не сразу, а дать время на эвакуацию людей;
- создать требуемую концентрацию огнетушащего вещества для эффективного тушения воспламенения.
При этом необходимо добавить, что газовое пожаротушение дополнительными системами от других разновидностей не отличается. То есть в его состав должны входить сигнализация и оповещение (звуковое, световое), дымоудаление и система определения пожарной обстановки. По сути, это полноценная система пожаротушения, только в ней используется в качестве огнетушащих веществ газовые смеси, а не вода или пена.
Станция газового пожаротушения
Кроме этого система автоматического газового пожаротушения должна снабжаться:
- противопожарными преградами в виде ворот и дверей, люков, клапанов и экранов;
- вентиляционные воздуховоды комплектуются пожарными клапанами, которые при возникновении пожара тут же должны закрыться;
- на станциях газового пожаротушения должны присутствовать противогазы и средства первой медицинской помощи.
Как работает устройство газового пожаротушения
Основная задача системы газового пожаротушения – заполнить пространство защищаемого объекта инертным газом или смесью нескольких газов. Цель – вытеснить из него кислород, снизив концентрацию О2 до значения меньше 12%. При таких условиях горение невозможно. При этом инертные газы не вступают во взаимодействие ни с одним из горючих материалов.
Теперь обобщим вопрос, какое огнетушащее вещество используется в установках газового пожаротушения. Имеется в виду газы:
- Сжиженные. Это углекислота, хладоны (галон и метил) и шестифтористая сера (вот ее химическая формула – SF6).
- Сжатые. В основном азот и аргон. Реже аргонит или инерген. Последний – это смесь азота 52%, углекислоты – 8% и аргона – 40%.
Необходимо отметить, что все вышеперечисленные газы не являются токсичными, поэтому для людей никакой опасности не представляют. Они также не влияют на озоновый слой Земли. Так что по всем позициям это безопасные вещества.
Теперь о том, как производится пуск системы. Сегодня производители установок предлагают три способа:
- Автоматический. Когда система срабатывает от установленных в помещениях датчиков сигнализации: тепловых, дымовых или световых.
- Дистанционный. Включение производится вручную нажатием кнопки пуска, которая находится на пульте управления. Последний размещается или в диспетчерской, или на станции пожаротушения.
- Местный. Это пуск от кнопки, которая непосредственно находится в защищаемом или соседнем помещении.
Кстати, надо добавить, что автоматический вариант в себя включает и два последних. Они называются дублирующими. Ими пользуются в тех случаях, если автоматика пуска дала сбой или нашлись другие причины.
Внимание! Срок эксплуатации автоматической газовой системы пожаротушения – 10 лет. Это при том, что она эксплуатируется в нормальных условиях, то есть при нормальной температуре, влажности и давлении.
Правила проектирования и монтажа
Сразу оговоримся, что проектированием систем газового пожаротушения должны заниматься специалисты. Важно понимать, что газовые установки подбираются под каждый объект по отдельности. При этом в расчетах учитываются:
- площадь объекта,
- объем,
- назначение,
- конструктивные особенности,
- расположение путей эвакуации.
Важно понимать, что в эвакуационных маршрутах кислорода должно оставаться в достаточном количестве. Поэтому рассчитывают концентрацию огнетушащего газа в основных помещениях отдельно, внутри эвакуационных путей отдельно.
Сам расчет необходим, чтобы определиться с некоторыми параметрами системы тушения пожара. К примеру:
- диаметр и длина трубопроводов;
- скорость перемещения огнетушащих смесей;
- время заполнения газом пространства защищаемого объекта;
- давление внутри труб;
- количество распыляющих насадок и прочее.
Уже на основе изготовленного проекта имеющая лицензию компания сделает монтаж газового пожаротушения. Основная сложность – это трубопроводы, которые раскидываются по объекту. Здесь важно четко провести трубы там, где положено. Даже небольшое изменение траектории установки повлияет на качество конечного результата. Обычно падает скорость перемещения ОТВ и снижается в трубах давление газа.
В таблице ниже показан расчет интенсивности подачи огнетушащего газа.
Интенсивность подачи разного вида газов
Монтаж оборудования газового пожаротушения – это установка его на фундаменты. Если разговор идет о локальных модификациях, то для них огораживается пространство, где хранятся баллоны с газом.
Пусконаладочные работы
Испытания и наладка системы проводятся перед первым пуском. А также через каждые пять лет. При испытаниях проверяют надежность работы установок, и проверяют все стыки на предмет возможных утечек газа. Если такие обнаружены, то недочеты срочно исправляют.
Обслуживание
Во-первых, надо сразу отметить, что принимаемая в эксплуатацию система фиксируется приказом руководителя объекта. В нем обозначается, кто будет ответственным за оборудование и систему в целом, а также делается ссылка на разработку инструкции по обслуживанию. В инструкцию входят обязанности обслуживающего персонала, дежурных, которые контролируют работу системы и ведут ее управление. В этом документе прописываются правила эвакуации работников при возникновении экстремальных ситуаций.
Техническое обслуживание – прерогатива сотрудников специальных компаний, у которых есть лицензии на проведение данного вида работ. Инженерно-технический персонал объекта ремонтировать установки газопожаротушения не имеют право. Это закреплено законодательством.
Монтаж и обслуживание
Какие виды работ проводят при техническом осмотре:
- настройка оборудования под требуемые параметры огнетушащего газа;
- замена комплектующих, приборов и узлов;
- проверка давления внутри емкостей и баллонов, кстати, эти работы проводятся с определенной периодичностью, зафиксированной в технической документации, которая приходит в комплекте с сосудами;
- восстановление нанесенных защитных покрытий труб и резервуаров.
Преимущества и недостатки
Начнем с положительных характеристик:
- газовое пожаротушение является универсальным, потому что с его помощью тушат пожары разных классов: от «А» до «Е»;
- газ проникает во все, даже самые труднодоступные места, отсюда и высокая эффективность;
- при воздействии газовых огнетушащих смесей нет никакого ущерба материальным ценностям;
- нет надобности после применения ОТВ производить сложную уборку помещений, нужно только включить вентиляционную систему, которая за считанные минуты удалит газ полностью;
- высокая скорость тушения возгораний в независимости от величины пожара;
- долгосрочная эксплуатация и установок, и систем.
Эффективность тушения огня
Что касается отрицательных сторон:
- чтобы газ эффективно потушил пожар, требуется стопроцентная герметизация помещений, что на многих объектах практически невозможно;
- эффективность пожаротушения падает при увеличении воздушного объема объекта;
- высокая цена как объемных систем, так и модульных;
- опасность, которую создают сосуды под высоким давлением, это касается и монтажа, и обслуживания, и применения.
Баллоны закачены под высоким давлением
Обобщение по теме
Надо отдать должное, что системы газового тушения пожаров с годами становятся востребованными. Если говорить о предыдущих десятилетиях. Это связано с тем, что такие установки более надежны и эффективны. К тому же появилось много объектов, где требуется сухая защита от огня. Потому что вода или пена портят все без разбора.
К таким объектам относятся предприятия, в которых установлены дорогостоящие электронные аппараты. Или склады, где хранятся важные документы. Стали больше пользоваться газовой защитой музеи, хранилища с ценностями. Особенно востребованы модульные конструкции. Они компактны, монтаж недорогой. Для небольшого склада это отличный вариант. Тем более, оборудование монтируются в защищаемом помещении.
а з о т
какой газ тушит огонь?
Альтернативные описания
• газ, делающий металл хрупким
• газ, из которого на 78% состоит воздух
• главный «воздушный наполнитель»
• главный компонент вдыхаемого вами воздуха, которым в чистом виде дышать нельзя
• удобрение, витающее в воздухе
• химический элемент — основа ряда удобрений
• химический элемент, один из основных питательных веществ растений
• химический элемент, составная часть воздуха
• химический элемент, газ
• магический меч Парацельса
• на латыни этот газ называется «nitrogenium», то есть «рождающий селитру»
• название этого газа произошло от латинского слова «безжизненный»
• этот газ — составляющая воздуха практически отсутствовал в первичной атмосфере Земли 4,5 млрд. лет назад
• газ, чья жидкость служит для охлаждения сверхточных приборов
• какой газ в жидком состоянии хранят в сосуде Дьюара?
• газ, заморозивший Терминатора II
• самый распространенный элемент в атмосфере
• основа всех нитратов
• химический элемент, N
• воздух на три четверти
• в составе аммиака
• газ под номером 7
• элемент из селитры
• основной газ в воздухе
• элемент из нитратов
• жидкий газ из сосуда
• газ №1 в атмосфере
• удобрение в воздухе
• газ для криостата
• почти 80% воздуха
• самый популярный газ
• газ из сосуда Дьюара
• главный компонент воздуха
• древний богатый филистимский город, с храмом Дагона
• большая часть атмосферы
• преобладает в воздухе
• следом за углеродом в таблице
• между углеродом и кислородом в таблице
• 7-й у Менделеева
• предшественник кислорода в таблице
• газ, отвечающий за урожай
• «безжизненный» среди газов
• вслед за углеродом в таблице
• пес из палиндрома Фета
• газ — компонент удобрений
• до кислорода в таблице
• после углерода в таблице
• какого газа больше в атмосфере?
• какой газ витает в воздухе?
• газ, занимающий большую часть атмосферы
• седьмой в строю химических элементов
• составная часть воздуха
• в таблице он после углерода
• нежизненная часть атмосферы
• закись этого газа — «вселящий газ»
• основа земной атмосферы
• большая часть воздуха
• преемник углерода в таблице
• безжизненная часть воздуха
• седьмой в менделеевском строю
• газ в составе воздуха
• основная масса воздуха
• седьмой в химическом рейтинге
• седьмой химический элемент
• около 80% воздуха
• газ, существено влияющий на урожай
• главный компонент нитратов
• главный элемент воздуха
• «нежизненный» элемент воздуха
• менделеев назначил его седьмым
• львиная доля воздуха
• седьмой в менделеевской шеренге
• главный газ в воздухе
• седьмой в химическом строю
• основной газ воздуха
• главный газ воздуха
• между углеродом и кислородом
• инертный при нормальных условиях двухатомный газ
• Самый распространенный на Земле газ
• Газ, основной компонент воздуха
• Химический элемент, газ без цвета и запаха, главная составная часть воздуха, входящий также в состав белков и нуклеиновых кислот
• Наименование химического элемента
• «Безжизненный» среди газов
• «Нежизненный» элемент воздуха
• 7-я графа Менделеева
• большая часть вдыхаемого воздуха
• входит в состав воздуха
• газ — компонент удобрений
• газ, существенно влияющий на урожай
• главная состав. часть воздуха
• главная часть воздуха
• главный «воздушный наполнитель»
• закись этого газа — «вселящий газ»
• какого газа больше в атмосфере
• какой газ в жидком состоянии хранят в сосуде Дьюара
• какой газ витает в воздухе
• какой газ тушит огонь
• м. химич. основание, главная стихия селитры; селитротвор, селитрород, селитряк; он же главная, по количеству, составная часть нашего воздуха (азота объемов, кислорода Азотистый, азотный, азотовый, азот в себе содержащий. Химики различают этими словами меру или степени содержания азота в сочетаниях его с другими веществами
• на латыни этот газ называется «nitrogenium», то есть «рождающий селитру»
• название этого газа произошло от латинского слова «безжизненный»
Какой газ тушит огонь
- ГЛАВНАЯ
- Миссия компании DP Air Gas
- О КОМПАНИИ
- DP Air Gas
- Безопасность и качество
- Партнеры
- Пресс-центр
- Партнерская программа
- Вакансии
- Закупки и тендеры
- Ваше мнение
- ПРОДУКЦИЯ
- Азот
- Аргон
- Ацетилен
- Водород
- Гелий
- Двуокись углерода
- Кислород
- Пропан
- Пищевые смеси
- Сварочные смеси
- Лазерные смеси
- Жидкие газы
- Перечень продукции
- УСЛУГИ
- Аренда
- Доставка
- Ремонт
- Лаборатория
- Упаковка
- Аутсорсинг
- ОБОРУДОВАНИЕ
- КОНТАКТ
Пожаротушение с помощью газов

Тушение пожаров газами, останавливающими горение, становится все более распространенным. Для этого используют инертные газы, азот и углекислоту.
Этот способ позволяет остановить возгорание на самой ранней его стадии и уберечь материальные ценности и жизни людей от опасности.
Уже в конце девятнадцатого века началось успешное применение тушения пожаров углекислотой. К началу двадцатого века этот способ распространился в Англии, США и Германии. К середине тридцатых годов газовыми установками пожаротушения стали оснащаться отечественные суда и корабли.
На современном этапе тушение углекислым газом остается наиболее применимым и дешевым способом. Но, для достижения большей безопасности и эффективности тушения пожаров, постоянно разрабатываются новые смеси газов.
Какие используют сейчас технологии пожаротушения газами.
Чаще всего для тушения пожаров применяют инертные газы и их смеси:
Аргон — этот газ не электропроводен и инертен, поэтому отлично подходит для тушения объектов возгорания, обладающих различной химической природой.
Аргонит представляет собой смесь газов, а именно азота и аргона в равных долях. Оба газа, входящие в его состав не проводят электрический ток.
Инерген – это смесь газов более чем наполовину (52 процента) состоящая из азота, содержащая сорок процентов аргона и восемь процентов углекислого газа. Эта смесь тоже не электропроводна.
Аргон и смеси на основе инертных газов применяются при тушении электронного и компьютерного оборудования. Отсутствие электропроводности помогает справиться с тушением техники, которая может оказаться под напряжением. Кроме того, эти смеси безвредны для человека. Они не содержат токсичных соединений и быстро улетучиваются после отключения их подачи. Поэтому инертные газы и смеси с их содержанием используют для ликвидации пожаров там, где могут находиться люди.
Системы инертных газов используются для тушения возгораний, которые могут возникать в трюмах сухогрузов. В некоторых случаях, чтобы предотвратить пожар в таких трюмах создается негорючая атмосфера на основе инертных газов.
Инертные газы и их смеси осуществляют тушение пламени по принципу «замещение кислорода». Это означает, что с помощью этих газов удается прекратить подпитку пламени кислородом. В комнату, охваченную огнем, подается чистый инертный газ или смесь для пожаротушения. При этом она вытесняет из комнаты оставшийся в ней воздух. Количество кислорода уменьшается и пламя гаснет.
Азот. Азотные установки для тушения пожаров применяются для предотвращения и ликвидации взрывов и пожаров на химических, нефтеналивных, нефтегазовых и нефтехимических предприятиях. Тушение организуется посредством наполнения газом помещения, в котором обнаружено возгорание или произошел взрыв.
При тушении пожаров в местах, где могут присутствовать алюминиевые конструкции, магний, литий или циркон, азот не применяется. Это объясняется тем, что с ними этот газ образует соединения, которые обладают взрывчатыми свойствами.
Углекислый газ. Для тушения возгораний легковоспламеняющихся жидкостей применяют углекислый газ в сжиженном виде. Особенность такого тушения состоит в том, что в момент дросселирования образуются хлопья углекислотного «снега». То есть кроме уменьшения концентрации кислорода в атмосфере помещения за счет разбавления ее углекислым газом, происходит еще и охлаждение.
Но, при тушении пожаров диоксидом углерода не стоит забывать о его биологическом воздействии на организм человека. В больших концентрациях он может взывать отравление.
Плюсы и минусы в пожаротушении инертными газами.
Традиционные способы пожаротушения в некоторых случаях способны причинить едва ли не больший ущерб, чем сам огонь. Это применимо к:
• Библиотекам и книгохранилищам. Книги очень страдают при тушении пожара пеной или водой. В некоторых случаях не сгоревшие экземпляры книг, пропитанные жидкостью, не подлежат реставрации.
• Архивам. Ценная документация, хранящаяся в них, может быть испорчена водой настолько, что приведет их в полную негодность.
• Музеям и галереям. Графические этюды, выполненные на картоне или бумаге и красочный слой некоторых картин, тоже могут быть необратимо повреждены водой при тушении пожара.
• Телекоммуникационным системам.
• Вычислительные центры и серверные помещения, как и энергоустановки, невозможно тушить водой, поскольку поврежденная электрическая проводка при соприкосновении с ней может вызвать короткое замыкание.
• Машинные залы с дорогостоящим оборудованием, которое может корродировать от воздействия воды, тоже лучше тушить с помощью газов.
Газы после того, как огонь потух, достаточно быстро выветриваются. При этом на ценных предметах и документах не остается никаких следов. Поэтому этот способ становится все более применим для тушения пожаров в частных строениях. Владельцы элитных домов, таким образом, стараются обезопасить принадлежащие им культурные и материальные ценности.
Газовые установки для пожаротушения не боятся мороза и жары. Их рабочий диапазон температур охватывает от минус 40 до плюс 50 градусов по шкале Цельсия. Ликвидация возгораний с их помощью не занимает много времени, поскольку газ быстро распространяется по всему помещению. Кроме того, заправка баллонов газом для приведения установки в рабочее состояние стоит относительно недорого.
Газовый способ пожаротушения имеет и минусы. Тушение огня углекислотой и азотом, в отличие от тушения инертными газами абсолютно неприменимо в тушении пожаров с участием таких металлов, как титан, натрий, магний, калий и другие щелочных и щелочноземельных элементов. При вступлении этих металлов в химическую реакцию с азотом могут образовываться токсичные и взрывоопасные вещества. Подобные соединения могут возникнуть и при тушении азотом хлопкового сырья и травяной муки, содержащих целлюлозу.
Для того чтобы прекратить горение нужно сократить содержание кислорода в окружающей пламя среде. Для разных веществ этот показатель имеет разные значения.
| Название горючего вещества | Процент кислорода, при котором горение прекращается |
| Природный газ | 9,5 |
| Бензин | 9 |
| Керосин | 9 |
| Ацетон | 11 |
| Реактивное топливо | 9 |
| Метилацетат | 8 |
| Пропан | 9 |
| Бутан | 9,5 |
| Бензол | 10 |
По вопросам приобретения перечисленных в статье инертных газов, азота и углекислого газа в Украине можно обратиться в Компанию «DP Air Gas». Более подробно ознакомиться с ассортиментом и условиями поставок газов, а также с предлагаемым компанией предпродажным и послепродажным обслуживанием газового оборудования можно здесь.
Тушение пожаров газами
Суть газового тушения заключается в уменьшении относительного содержания кислорода в зоне горения до концентрации, при которой горение прекращается, за счет разбавления воздуха каким-либо газом, не поддерживающим горения.
Для этой цели целесообразно использовать двуокись углерода. Это связано с тем, что этот газ может храниться в сжиженном состоянии при умеренных давлениях (около 6 МПа при температуре 20°С) и имеет достаточно высокий коэффициент газообразования: из 1 л жидкой углекислотыобразуется 462 л углекислого газа (1 кг жидкого СО2 образует 509 л газообразного СО2). Углекислый газ химически инертен, не коррозионно активен, не электропроводен.
Основной механизм газового пожаротушения — разбавляющее действие газа. При подаче в очаг пожара снежной углекислоты последняя мгновенно испаряется, минуя жидкое состояние. Этот процесс, называемый сублимацией, сопровождается некоторым охлаждением зоны горения.
Для прекращения горения объемная концентрация двуокиси углерода должна составлять при тушении 30% или 0,594 кг/м 3 .
Углекислый газ нельзя применять для тушения некоторых металлов (натрий, калий, бериллий, магний, щелочноземельные металлы). Эти металлы горят в атмосфере СО2. Двуокись углерода не применима также для тушения тлеющих материалов (из-за плохого охлаждающего действия).
Наиболее существенным достоинством газового способа пожаротушения является полное отсутствие отрицательного воздействия на материалы и оборудование, в том числе радиотехническое, навигационное, и электрооборудование.
Наиболее значительные недостатки газового пожаротушения связаны с невысокой огнетушащей эффективностью (что требует существенных запасов газа-разбавителя). Этот способ для объемного тушения в помещении невозможно применять в отсеках, где находятся люди.
К этой же категории огнегасящих средств относится азот. Для подавления очага возгорания, в каком либо отсеке, в него нужно подать азот в объеме 40…70% от объема этого отсека.
Одними из эффективных средств пожаротушения и флегматизации горючих сред являются углеводороды, в которых один или несколько атомов водорода заменены атомами галоидов (F, Cl, Br). Эти вещества известны, как хладоны.
Хладоны эффективней инертных газов приблизительно в десять и почти в двадцать раз – водяного пара. Механизм тушения пожара хладонами состоит в том, что они уменьшают концентрацию горючей смеси, снижают температуру очага пламени за счет своего испарения и уменьшают скорость распространения пламени.
Высокие диэлектрические свойства хладонов позволяют применять их для тушения возгорания оборудования, находящегося под электрическим напряжением.
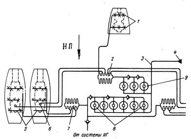
![]() |
| Рис.9. Принципиальная схема ППС силовой установки самолета Ил-62: 1 – распределительные коллекторы отсека ВСУ; 2, 7 – блоки распределительных электрокранов; 3 – трубопровод для стравливания огнегасящего состава в атмосферу; 4 – устройство сигнализации о разрядке огнетушителей; 5 – распылительный коллектор отсека двигателя; 6 – устройство подачи огнегасящего состава внутрь двигателя; 8 – цилиндрический огнетушитель; 9 – шаровой огнетушитель |
Все это привело к широкому распространению хладонов в бортовых авиационных средствах пожаротушения. К сожалению, хладоны обладают рядом существенных недостатков, среди которых основными являются их токсичность, что требует соблюдения специальных мер безопасности при обслуживании ППС, и разрушительное воздействие на озоновый слой атмосферы при срабатывании систем или утечках огнегасящего состава.
По конструктивному исполнению ППС можно подразделить на переносные и стационарные. Стационарные системы могут быть централизованными, автономными и смешанными.
Стационарные системы позволяют подавать огнегасящий состав в любой защищаемый отсек от одних и тех же огнетушителей; в автономных системах подача состава в каждый отсек осуществляется из отдельного огнетушителя. Принципиальная схема централизованной ППС самолета, показана на рис. 9
При возникновении загорания в одном из двигательных отсеков и срабатывании системы сигнализации приводятся в действие электроклапаны 7 соответствующего двигателя. В результате огнегасящий состав из огнетушителей под действием высокого давления поступает к распределительному коллектору и вспрыскивается в зону горения. В том случае, если пожар не был потушен или произошло повторное воспламенение, экипаж может вручную привести в действие огнетушитель второй очереди.
Как правило, ППС, состоящие из двух и более очередей, применяются на самолетах и вертолетах тяжелого и среднего класса. На легких маневренных самолетах обычно используются полностью автоматические ППС. Они состоят из одной очереди, что обусловлено ограничениями по массе системы, а также тем, что экипаж имеет возможность покинуть аварийную машину.
На зарубежных самолетах применяется только ручное включение подачи хладона в пожароопасный отсек, что исключает возможность ложного срабатывания системы. На самолетах Ту-154М, Ту-22М, Ту-160 также применена ручная система подачи хладона в отсеки после выключения двигателя и закрытия пожарного крана. В централизованных ППС огнегасящие составы хранятся в огнетушителях, представляющих собой цилиндрические или сферические баллоны, под давлением около 10. 15 МПа. Поэтому ППС такого типа иногда называют баллонными.
Что тушат газовыми огнетушителями: виды, принцип действия

Газовые огнетушители (закачные) – это первичные средства пожаротушения, оснащенные баллоном со сжиженным газообразным негорючим огнетушащим веществом (ОТВ), одновременно выступающим в большинстве случаев выталкивающей силой.
К газовым огнетушителям относятся и варианты (встречаются реже) с отдельным источником холодного газа (ИХГ) в виде баллончика, колбы внутри основного сосуда.
Виды / типы
В зависимости от ОТВ газовые огнетушители подразделяются на углекислотные (ОУ) и хладоновые (ОХ).
Заряд ОУ – сжиженный углекислый газ (CO₂, диоксид или двуокись углерода, угольный ангидрид), при выходе расширяющийся в 50 – 70 раз.
Огнетушащий заряд ОХ – группа фреонов, именуемых хладонами. Ущерб окружающей среде от ОТВ минимален, поскольку используются современные «безопасные» разновидности газа.
Область применения
Сравнение углекислотных и хладоновых огнетушителей:
-
по НПБ для ОУ диапазон напряжения обрабатываемого объекта – до 10 кВ. В техдокументации встречается величина и в 110 кВ. Для фреонов по НПБ – до 0,4 кВ, но большинство моделей сертифицированные на указанные большие значения;
охлаждающий эффект углекислотных средств пожаротушения достаточный для подавления пламени, но может повредить чувствительные предметы и приводит к обморожению. Действие хладоновых устройств щадящее;
Технические характеристики двух стандартных моделей огнетушителей:
Продолжительность выпуска (сек.)
Приведенные значения могут меняться в зависимости от марки и производителя, ингредиентов ОТВ. Есть ручные (до 10 кг), передвижные (до 400 кг), стационарные варианты корпусов.
Хладоновые средства пожаротушения проигрывают углекислотным, но при комплектации зданий по прил. N 1 ППР ( пост. N 390 ) ОХ результативнее. ОХ же лучший по табл. А.1 СП 9.13130 для жидких веществ; ОУ – для электроустановок.
Что можно тушить
Газовые огнетушители эффективнее всего применяются при тушении газообразных, жидких веществ, оборудования под напряжением. По НПБ назначение такое:
Жидкие горючие растворимые/нерастворимые в воде (все виды топлива, ГСМ, ЛВЖ, ацетон, спирты), а также твердые расплавляемые (парафин).
Электроустановки (до 10 кВ, при сертифицированном составе – до 110 кВ). для тушения электрооборудования газовые огнетушители наиболее эффективные, поскольку ОТВ нетокопроводимое (диэлектричное), хорошо проникает в сложное оборудование, например, в серверные шкафы.
Что запрещено тушить
По НПБ огнетушители с газообразным ОТВ не для возгораний категории A – обычных материалов: древесины, угля, текстиля, резины, пластмасс. Это основной минус. То же касается металлов (D).
Газовое тушение иногда используют для кат. A в музеях, библиотеках, поскольку ОТВ не повреждает объекты. Огнетушащий газ вытесняет кислород поэтому, в принципе, тушит любой тип пожара с его участием, но для класса A результативнее не огнетушители, а хладоновые и углекислотные стационарные установки, то есть объемное пожаротушение в закрытом помещении.
ОУ, ОХ слабо эффективны при возгораниях рассыпных и волокнистых материалов, поскольку газ не остается поверхности как вода или порошок. Однозначный запрет касается материалов, горящих и/или тлеющих без кислорода.
Достоинства
Преимущества газообразных тушащих составов:
-
не загрязняют и не повреждают. ОТВ из огнетушителя выходит в виде холодного тумана, небольших хлопьев снега. Смесь бесследно испаряется;
незаменимые для электроустановок. Смесь проникает в сложные конструкции, не вплавляется;
Недостатки
Минусы огнетушителей газового типа:
-
слабоэффективные для распространенного класса возгораний – «A» (обычные твердые предметы);
вред для здоровья:
-
углекислота может привести к отравлению с летальным исходом за несколько секунд вдыхания;
потребность в более частом контроле давления;
чувствительность к вибрациям, ударам, нагреванию;
диэлектрический раструб накапливает статический заряд;
Правила эксплуатации
Предосторожности при пользовании ОУ и ОХ:
-
углекислотный огнетушитель надо держать за изолированную ручку около ствола, иначе возможен холодный ожог;
обычно применяют диэлектрический раструб, но он накапливает статику, и его не используют для чувствительных к этому явлению объектов, что обуславливает повышенные меры предосторожности – резиновые перчатки, увеличенная дистанция;
минимальная дистанция до очага – 1 м, рекомендовано – 1,5 м (для объектов до 1 кВ) и 2 м (до 10 кВ). Если струя до 3 м, то тушить можно только оборудование до 1 кВ. Близкое расстояние понижает результативность, поскольку уменьшает эффект объемности, поэтому рекомендуют 2 м;
струю газа нельзя направлять на людей, живые существа;
в закрытых помещениях обязательные меры:
-
эвакуация перед началом пожаротушения;
Нормы ТО и хранения
Правила хранения углекислотных и хладоновых огнетушителей:
не менее 1 м от нагревательных приборов; место, защищенное от вибраций, механических влияний, тепловых потоков, солнца;
в вертикальном положении;
Перезарядка с контролем работоспособности предписана 1 раз в 5 лет. Перезаправка обязательная при неисправностях и когда масса заряда снижается за год на 5%.
Проверка полагается один раз в год или раз в полгода на огневзрывоопасных объектах: осмотр, контроль с манометром, взвешивание. Ежеквартально проводится только осмотр. Остаток заряда хладонового огнетушителя не выпускают после применения – баллон сдают на регенерацию ОТВ или утилизацию.



